Introduction to Strowger
Transmission Bridges
All calls through an exchange require the use of a transmission bridge. The main requirements of a transmission bridge are :
1) The provision of line current to both calling and called telephones
2) The transmission of speech between the phones.
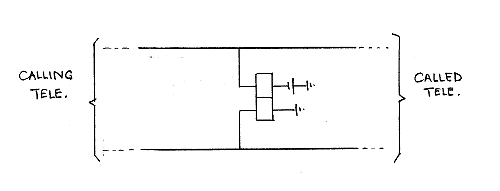
The simplest bridge would be the circuit below :

Such a bridge, whilst providing very little speech attenuation, is not very satisfactory for the following reasons :
1) the current supplied through the resistance of the relay splits to feed both phones. The line with the higher resistance receives the least current and vice versa. This is exactly what is not required as the high resistance line would provide the lower speech level at the phone and provide the highest line attenuation.
2) The relay can only be used to determine when both telephones have cleared down. Generally it is necessary to monitor the two phones separately.
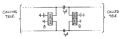
A practical bridge needs two relays, each monitoring one of the connected phones. The circuit below shows the arrangement in use in the majority of transmission bridges. This is known as a Stone bridge.

In such a bridge, relay A supplies line current to the caller and generally controls the release of the call. Relay D supplies current to the called phone and usually triggers metering when the called phone answers. The capacitors permit speech currents to pass between the phones with very little attenuation. The relays generally have high resistance split nickel iron sleeves around the soft iron core to reduce speech eddy currents and therefore speech losses.
When a strowger exchange was being installed by contract, one of the acceptance tests involved the measurement of loss across the transmission bridges in the exchange. It was normal for the loss at each bridge to be less than 0.5db at 1000Hz although reference books generally accept that the loss would be just over 1 db.
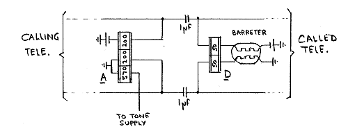
An even more practical transmission bridge circuit is shown below.

Two further features are required, particularly when the transmission bridge is going to be incorporated into a final selector or outgoing relay set.
1) A third winding on the A relay coil will permit the connection of tones to the line by transformer action in the relay. The line remains balanced when the tone is applied, an improvement on older circuitry.
2) It is possible to compensate for the loss in long local lines to some extent by raising the current flowing around the line and through the microphone. This can increase the speech output. Reducing the resistance of the D relay to 50 +50 ohms helps to achieve this.
However a 50 ohm relay is unsuitable on its own as too much current will flow under short line conditions and could "fry" a carbon microphone. The barretter normally has a very low resistance but as the current flowing through it rises, its resistance also rises rapidly to cap the rise to a reasonable level.
The barretter also prevents the 50 ohm D relay from overheating should a full earth be found on the called line circuit.
You will notice that the barretter is only provided on one side of the bridge. On an "own exchange" call, the line transmission would be good enough without any barretter facility. Only on calls using junction circuits with their increased transmission loss is it necessary to attempt to improve speech levels using the barretter circuitry. Under these circumstances the barretter is needed on the caller's side of the bridge at the originating exchange and the called side of the bridge at the terminating exchange.
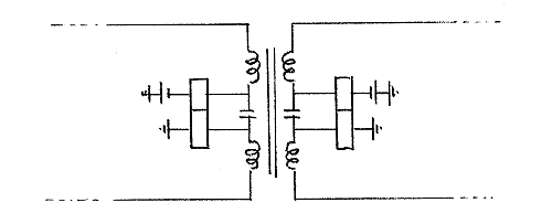
The capacitor bridge is satisfactory for most occasions but it does allow conditions on one side of the bridge to affect pulsing relays on the other side. Surges are transmitted through the capacitors easily. The capacitors also become connected in series across the A relay in certain pulsing relay sets causing some slugging effects.
When such effects cannot be tolerated, usually in junction relay sets employing long distance signalling techniques, then the Hayes transformer bridge is preferred.

This bridge separates the speech transmission and DC relay requirements into distinct elements.
1) The transformer transmits the speech currents across the bridge with a loss of about 1db. However the transformer has to be quite large as the core must not be near saturation from the DC flowing through the windings.
2) The relays now have no effect on the speech transmission and can be of any type suitable for the particular purpose. High speed relays can be employed for pulsing purposes. A barretter can be included if required.
The Hayes bridge was also common on the older manual board systems as the "relays" were often replaced by cord circuit indicators which would not have functioned in a capacitor bridge.
Pulsing through a transmission bridge will be dealt with in the next article.
 |
Page provided by John Bathgate
This page was last updated on
10th January 2011 |
|