mainmenu

Parkend - Alarms, STARS and Test Numbers

ALARM RECEPTION

Fuse Alarm. Normally relay FA is released until a blown fuse places a battery condition on the FA wire on the common services block. This in turn operates relay FA. FA1 lights a red LED within the relay set can. FA3 operates relay PA. PA1 releases relay P. P6 lights the red LED in the test jack to indicate an exchange alarm. The release of relay P initiates the alarm extension circuit to send the exchange alarm condition to Norchard. We have retained the red main fuse alarm lamp which also operates to a battery on the FA lead.

PG Alarm. Normally relay PG is released until a line circuit held under fault conditions places an earth on the PG wire on the common services block. This in turn operates relay PG. PG1 lights a yellow LED within the relay set can. PG3 operates relay PA. PA1 releases relay P. P6 lights the red LED in the test jack to indicate an exchange alarm. The release of relay P initiates the alarm extension circuit to send the exchange alarm condition to Norchard.

Release Alarm. Normally relay RA is released until a releasing selector places a battery condition on the RA wire on the common services block. This in turn operates relay RA. RA1 operates relay RAR after a two to 3 second delay. The delay is produced by the large capacitance placed across the RAR relay and the charging 2.2 kilohms resistor effect. This generally will prevent a normal release condition from operating relay RAR and the sending of a momentary alarm condition to Norchard. Should RAR operate to a persistent release alarm condition, RAR1 lights a green LED within the relay set can. RAR3 operates relay PA. PA1 releases relay P. P6 lights the red LED in the test jack to indicate an exchange alarm. The release of relay P initiates the alarm extension circuit to send the exchange alarm condition to Norchard.

50 Volts Positive Alarm. Normally relay POS is held operated by the 50 volt positive supply. Should the supply fail, relay POS releases. POS3 lights a red LED within the relay set can. POS5 operates relay PA. PA1 releases relay P. P6 lights the red LED in the test jack to indicate an exchange alarm. The release of relay P initiates the alarm extension circuit to send the exchange alarm condition to Norchard.

Parkend Signal Box Telecoms Alarm. Normally relay SB is released until a fault in the telecoms equipment in the signal box presents an earth to the SB relay. SB2 lights a red LED within the relay set can. SB1 operates relay PA. PA1 releases relay P. P6 lights the red LED in the test jack to indicate an exchange alarm. The release of relay P initiates the alarm extension circuit to send the exchange alarm condition to Norchard.

Whitecroft Signal Box Telecoms Alarm. Relay 2SB is normally held in by a battery condition received from the concentrator equipment at Whitecroft Box. If a telecoms fault occurs at Whitecroft, the battery condition is disconnected allowing relay 2SB to release. 2SB1 lights a red LED within the relay set can. 2SB3 operates relay PA which releases relay P. P6 lights the red LED in the test jack to indicate an exchange alarm. The release of relay P initiates the alarm extension circuit to send the exchange alarm condition to Norchard.

Low Volts Alarm. Should the battery voltage "go low", this will place an earth onto U point 13 and light a red LED within the relay set can. The earth will also operate relay PA via the rectifier. PA1 releases relay P. P6 lights the red LED in the test jack to indicate an exchange alarm. The release of relay P initiates the alarm extension circuit to send the exchange alarm condition to Norchard.

Parkend Signals Alarm Normally relay Q is held operated by a full loop from the signals equipment at Parkend. If a signals fault occurs, the full loop is replaced by a 6.8 Kilohm resistance. This will cause relay Q to release. Similarly a line disconnection will also cause relay Q to release. Q5 removes the short circuit from a yellow LED in the test jacks which lights. The release of relay Q initiates the alarm extension circuit to send the exchange alarm condition to Norchard.

Whitecroft Signals Alarm Normally relay R is held operated by a full loop from the signals equipment at Parkend. If a signals fault occurs, the full loop is replaced by a 6.8 Kilohm resistance. This will cause relay R to release. Similarly a line disconnection will also cause relay R to release. The large capacitor across the R relay causes the relay to be quite slow to release. This ensures that if relays Q and R try to release simultaneously, say to a wide spread power failure, they follow in sequence. If Q and R released together then the new alarm condition would not be sent to Norchard. R5 removes the short circuit from a yellow LED in the test jacks which lights. The release of relay R initiates the alarm extension circuit to send the exchange alarm condition to Norchard.


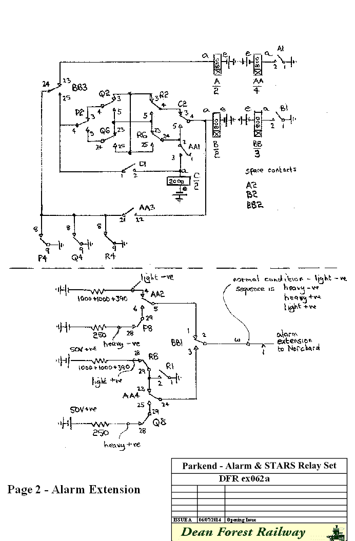
ALARM EXTENSION

Before looking at the actual diagrams in use, it may help to consider the means by which multiple alarm conditions are fed from Parkend to Norchard exchange. This all relay method was suggested by Peter Wood from the Signalling Group and we are grateful to him for his ingenuity.

The circuit uses four main DC signals over the alarm wire, ie a light negative condition (a 2400 ohm 50 volts negative signal), a heavy negative (a 250 ohm 50 volts negative signal), a heavy positive signal, and a light positive signal. These signals are applied one after the other as required to indicate the alarms present at Parkend.

At Parkend, there are three relays, P, Q and R which are normally held operated by a loop when there are no alarms. P4, Q4 and R4 prevent relays A, AA, B and BB from operating. With AA2 and BB1 released, a light negative condition is sent to line on the single wire to Norchard. This holds relay LN operated, but does not provide sufficient line current to flow to operate relay H. LN2 operates relay W which at W1 lights the green alarm clear lamp. W1 also ensures that relays X and Y are not held from any previous alarm condition. This is the normal standing condition. Should the power fail at Parkend or the cable become faulty, LN will release and the alarm clear lamp will dim.

Should a fault occur then P, Q and/or R will release. Say relay P releases. P4 initiates a sequence of conditions on the wire to Norchard. P4 released, operates relay A and then AA. AA3 operates B and then BB. BB3 releases relay A and AA. Relays B and BB hold via P4 released, BB3 operated, P2 released, Q2 and R2 operated and C2 released.

During this sequence the following conditions are sent to line, AA operates and at AA2 connects heavy negative to line, then BB1 operates and line condition is disconnected as AA4 is operated but Q8 is also operated. When AA4 releases the line is earthed.

At Norchard, we started with LN and W operated. When the heavy negative condition occurs relays H and HH also operate. LN2 and HH2 release W and operate relay X which holds via X1 to the W1 earth. X3 lights the alarm lamp appropriate to the original P relay. When the line becomes disconnected or an earth is present, relays LN, H and HH release, but X remains held to the W1 earth.

If any further faults occur after the first has been sent and registered, the P, Q, R and C contact arrangement ensures that any movement of P, Q and R will cause the release of B and BB, the reoperation of A and AA, the reoperation of B and BB which will then hold to any P4, Q4 and R4 earth.

The sequence is
1) light negative condition to operate LN and W and at W1 reset any X or Y relays.
2) heavy negative condition should P be released to operate LN, H and HH and set relay X.
3) heavy positive condition should Q be released to release LN and operate LP and set relay Y.
4) light positive condition should R be released to release relay H and HH and operate relay Z. In this case the light positive condition remains on the wire to hold LP and Z. Should R not be released then the final condition on the wire is an earth which releases LN, LP and H and HH but leaves X or Y locked to the W1 earth until the faults are cleared. In the alarm sending element, P8, Q8 and R8 prevent the sending of any condition where a fault is not present.

Show Multi Alarm Circuit Element as a PDF (1 Page)
Show Circuit and operate and release chart as a PDF (3 Pages)


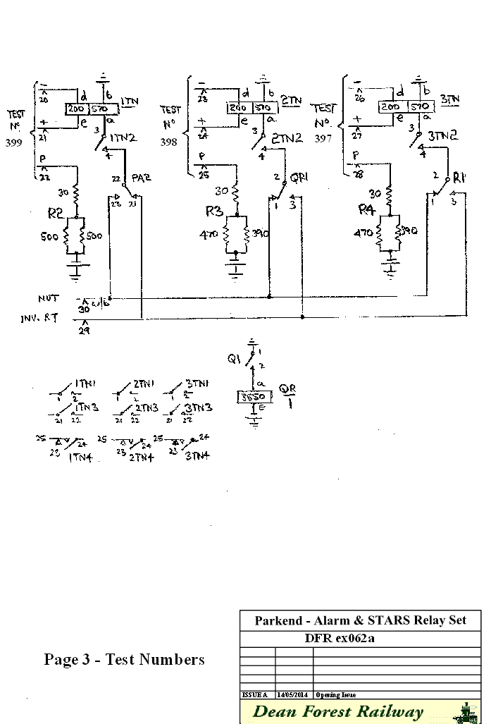
TEST NUMBERS

Three test number circuits have been provided within the relay set.

Test number circuit one is controlled by the PA relay and so returns NU tone should there be an exchange fault. 399 is allocated to this circuit.

Test number circuits 2 and 3 are controlled by relay Q and R and so can be used to indicate signals faults should the signals staff require this facility.
398 is allocated to Parkend Signals and 397 to Whitecroft Signals.


Show Relay Set Diagrams as a PDF (3 Pages)


mainmenu

Page provided by John Bathgate

This page was last updated on
6th July 2014