Lydney Junction Line Concentrator
November 2011 : The concentrator for Lydney Junction Signal Box is now in service.
A rack has been built in the signal box locking room and is equipped with the following items :
1) A set of four 12 volt batteries giving between 50 and 55 volts when floated from a nominally 60 volt charger. The excess voltage is dissipated in a set of paralled 50 volt bulbs, the number of bulbs controlling the amount of charge.
2) A UAX13 ringer.
3) A relay set that monitors the battery voltage and receives alarms from the equipment on the rack and forwards the alarm condition to a display in Norchard exchange. The relay set also receives 30 sec pulses from the Norchard clock system to operate clocks within the box, and perhaps the station at a later date.
4) The concentrator which is built in three relay set cans, ie 6 line circuits (expansion to 8 circuits is possible), the operator's circuit and a timer.
5) Space has been left for a small 22 line exchange to be provided in the future.
6) A public address system to allow the signalman to make announcements to the station area.
There is also an ex BT ten way key and lamp unit mounted on the signal man's desk to act as the concentrator head. The KLU had to be much modified from its previous condition to be made suitable but is a very tidy and discreet way to present the connections to the signalman.
At the design stage we were referred to the IRSE recommendations for line concentrators and these can be summarised as :
"The design must include a display of the identity of the telephone (and thus the signal number and by inference, its location) at the signaller's control panel.......The system must ensure that only one conversation can take place to each signaller at any one time, thus preventing the overhearing of operational messages by other drivers. Systems should allow the signaller call back to the driver.
The modern Signal Post System is regarded as a secure system. There has to be a high degree of assurance that the lineside telephone connected during a call is at the location indicated at the signaller's console and that no other call can be inadvertently connected or interrupted whilst the call is in progress. All incoming calls from within a signalling area are directed to the signaller controlling that particular area and in turn outgoing calls to lineside telephones in the area are restricted to that signaller. All telephones at signals operate as CB extensions to the particular signaller's keyboard."
This meant that we were not providing a switchboard but a key and lamp system where it would not be possible to operate more than one speak key at a time.
Operation of the Lydney Junction Line Concentrator
1) SPT calls, box answers.
The SPT receives ring tone, the call lamp flashes on the concentrator and the bell rings.
The Box answers within time out period (2mins 30secs) by throwing the SPT and Operator's keys down. The ring tone stops, the call lamp goes out and the bell stops.
The Signalman can speak to the SPT.
On release from the call, should the signalman clear first, the SPT will recall the concentrator until the SPT clears.
2) SPT calls, no response from Signal Box
The SPT receives ring tone, (if the signalman has thrown his out of use key, then the SPT receives NU tone), the call lamp flashes on the concentrator and the bell rings.
After time out period (2mins 30 secs) the call lamp glows permanently on the concentrator, but the bell stops. SPT receives NU tone.
Any other calling SPT receives NU tone and cannot call the box.
If the SPT continues to call, then, when the box is again staffed the call lamps indicate a problem. The faulty SPT can be isolated by operating the line circuit disconnect key upwards for that SPT. This action restores the system to normal. The calling SPT is isolated. The first action should be to check that the handset has been correctly replaced. If it has, then the fault needs to be reported to the Electrical and Telecoms Group for investigation.
3) Signalman calls an SPT, SPT answers.
The signalman throws the key down for the SPT required and his operator's key.
The signal man presses the ring key briefly. Ringing is sent to the SPT and the call lamp flashes at ringing cadence to assure the signalman that the SPT is being rung.
When the SPT answers, the ringing stops and the call lamp goes out.
The Signalman can speak to the SPT.
On release from the call, should the signalman clear first, the SPT will recall the concentrator until the SPT clears.
4) Signalman calls an SPT, No response from SPT.
The signalman throws the key for the SPT required and his operator key.
The signal man presses the green ring key briefly. Ringing is sent to the SPT and the call lamp flashes at ringing cadence to assure the signalman that the SPT is being rung.
After time out period (2min 30sec) the call lamp dims and ringing stops.
To restart ringing, the signalman will again need to press the ring key briefly.
5) Miscellaneous Operations.
a) The lamp above the operator's key will light whenever an SPT is on the line but will go out if the SPT hangs up.
b) Normally the bell will ring for as long as an SPT is calling, although the bell will stop after the time out period of 2mins 30sec. Throwing the short buzz key down will result in the bell ringing for just a second or so if this is preferred. This does not affect the lamps from indicating a caller.
c) If an attempt is made to connect two SPTs together by thowing two or more line keys simultaneously, none of the keys will connect its line and the bell sounds to indicate that something is wrong.
d) When the box is unattended the red operator's key can be thrown upwards. This connects NU tone to any calling SPT so that the caller is aware that the box is unattended.
e) The PA amplifier is not normally switched on. To switch the amplifier on, throw the PA key upwards. The lamp will light to inform the signal man that the amplifier is ready for use.
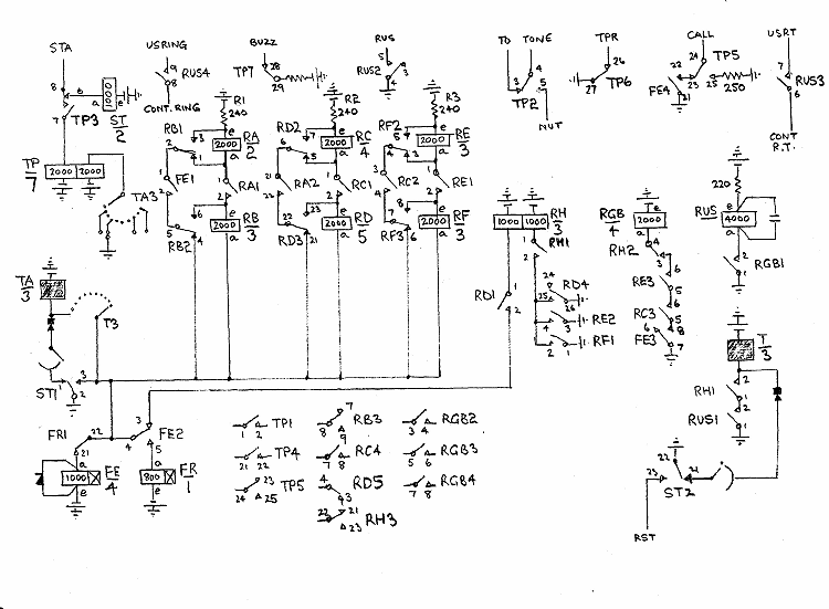
Line Circuits and Operator's Circuit

Click here for a PDF copy
Timer Circuit

Click here for a PDF copy
Head Circuitry
 
Click here for a PDF copy
Click here for a PDF copy of the Line Circuit Relay Set U Points (55 Kb)
Click here for a PDF copy of the Operator's Relay Set U Points (81 Kb)
Click here for a PDF copy of the Timer Relay Set U Points (55 Kb)
Click here for a PDF copy of the SPT Labels (55 Kb)
 |
Page provided by John Bathgate
This page was last updated on
12th February 2018 |
|