mainmenu

Museum Signal Post Display

Electric Signal Light in DFR Museum Display Board attached to Signal Post Relay Set driving Museum Signal Post

The museum has had an electric signal post in operation for several years but lately it has become very unreliable. The telecoms group were asked to build a replacement arrangement to drive the lights so that they changed at regular intervals. It was also suggested that there could be an explanatory display showing how colour light signals could be controlled by a passing train. This is the result.

The display board consists of a track diagram with three colour light signal posts spaced along the track. As the train, indicated by a pair of LEDs, moves from section to section, the three aspect signals respond appropriately.

Normally, when the sections shown are clear of trains all three signals show a green aspect.

When the train moves past the first signal, that signal changes to red.

When the train moves on, the second signal that it has just passed turns red and the first signal changes from red to amber.

When the train moves past the third signal, it turns red, the second signal turns amber and the first signal reverts to green.

The actual signal post lights follow the sequence shown by the first signal on the display board.


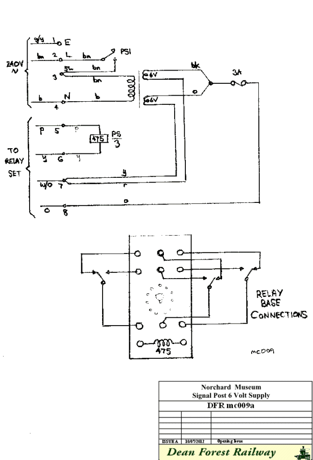
6 Volt Supply

The LEDs in the display board are powered from a 6 volt supply. Switching the unit on at the display board operates the relay in the 6 volt unit, which in turn switches on the mains to provide a 6 volt AC supply to the control relay set. The AC is rectified in the relay set.

6 Volt AC Supply Diagram

The Display Board

The Display Board holds the on/off switch, the auto/manual switch and the step on button as well as the LEDs representing the signal lights.

The LEDs are connected via a diode matrix to four input lines receiving 6 volts DC from the control relay set. One of these lines will be active at any one time by being connected via the wiper and arc on a stepping uniselector. The matrix ensures that the correct LEDs light for that particular active line.

The main lamps in the actual signal post are also operated in the same sequence as the first post on the board. 50 volts are supplied by a separate wiper and arc on the stepping uniselector.

Display Board Diagram

The Control Relay Set

Control Relay Set Diagram

The Control Relay Set is started by an earth operating relay ST. This earth comes from the Display Board on/off switch.
ST1 operates the PS relay in the 6 volt unit thus switching on the 6 volt AC supply. This is rectified in the relay set to provide the DC for the LEDs.
ST2 causes the uniselector to drive to outlet 1.
ST4 connects DC to outlet 1 of wiper 2 to light the initial LEDs on the display.
ST6 pre-operates relay SB.
ST7 connects earth to wiper 3 to light the appropriate lamp on the actual signal post.

Earth pulses can now be derived from the 30 second clock if auto is selected on the display board. Relay MN remains released.
If Manual is selected, the display board switch will operate relay MN and at MN1 will disconnect the 30 second pulse and connect the step on push button in its place.

When the first clock pulse is received, relay PX operates and at PX2 pre connects the PY relay. PY is held short circuit by the clock pulse, but when the pulse ceases and the short circuit is removed, relay PY operates and holds to ST5. PY1 then connects the next clock pulse to relay SA.
This arrangement absorbs the first pulse received and ensures that the display cannot immediately step to the next condition at switch-on.

When the next clock pulse, or the first step on pulse is received, relay SA operates.
SA3 holds relay SA until both relay SB has released and the pulse has been removed.
Whilst both SA and SB are operated, the uniselector magnet is energised. This period is always controlled by the release lag of relay SB, so that no matter how short or long the input pulse is, the magnet always receives a standard length pulse.
When SB releases, so does the magnet and the uniselector steps on, thus moving the wipers to outlet 2 and changing the display conditions.
Relay SA releases when the pulse is removed or when SB releases.
Relay SB then reoperates, ready to time the next pulse.

This sequence continues, driving the wipers around the arcs and changing the display. There are only four conditions to be displayed so these four conditions are strapped around the uniselector bank six times. When the uniselector reaches outlet 0 (home) it drives again to outlet 1 to continue the sequence.

Switching off at the Display Board releases relay ST which in turn releases all relays in the control relay set and 6 volt unit.
Contact ST2 also causes the uniselector to return to outlet 0, its home position.


The following diagrams are available in PDF form :

Overall relay set circuit diagram 176Kb
Museum Display Board 152Kb
6 Volt AC Supply 120Kb


mainmenu

Page provided by John Bathgate

This page was last updated on
3rd August 2012