Introduction to Strowger
Pulsing
Dial Limits : The nominal dial characteristics are speed = 10 pps, ratio = 2/3 break, 1/3 make.
In practice dials are set to maintenance limits of speed = 9-11 pps, ratio break = 63-70% break.
Equipment is designed to accept pulsing at 7-12 pps, ratio break = 63-70%.
Factors Affecting Pulsing : The dial pulses, in the end, operate and release an A (pulsing) relay in selectors and relay sets. The speed is generally set by the dial but the ratio is affected by many other conditions.
Line resistance : This reduces current and flux values and their rate of growth. Generally the operate lag of the A relay is increased and the release lag is reduced. the break pulse tends to increase.
Line inductance : This also slows growth of current and flux and again tends to increase the break pulse.
Line leakance : This holds the flux in the A relay to a certain minimum value and keeps the relay partially fluxed. This tends to slow the release of the relay and therefore tends to reduce the length of the break pulse.
Line capacitance : This provides a path for the back EMF of the relay when the break pulse disconnects it. This tends to hold the relay operated thus reducing the break pulse. However it also restricts the rate of growth of current and increases the operating lag of the relay. The break pulse therefore tends to be displaced in time.
Dial springs spark quench : This is usually a 100 ohm resistor in series with a capacitor of about 2 microfarads across the dial springs. The capacitor has no real affect on the make as the capacitor will be short circuited. On the break though the capacitor charges from the line voltage and provides a circuit for the A relay back EMF. This slugs the release of the relay and tends to hold it operated and so reduces the break period.
Exchange battery voltage : Low voltage acts in a similar way to line resistance in reducing relay flux and the rate of growth of flux, again the operate lag of the A relay is increased and the release lag reduced, leading to an increase in the break pulse length.
Transmission bridge capacitors : Final selector capacitors are disconnected during pulsing and therefore have no effect. Auto to auto relay sets have two capacitors connected in series across the A relay during pulsing, which act rather like line capacitance and therefore cause the pulsing to be displaced
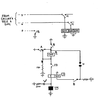
Typical Selector Stepping Circuit
In a stepping circuit, relays B and CD have to remain held during the reception of a train of pulses.
In particular relay B has to remain held during the break period of the pulse. During this time the B relay is short circuited by the A1 contact and the slugging effect provides a release lag of around 225 ms. This is achieved by using the whole winding space for the 1300 ohm coil and allows the relay to hold to a 46 volt supply, 12 pps and a break that can reach or exceed 95%. The relay can also have a high number of springsets with its high mechanical load on the armature.
Relay CD has to remain held during the make period of the pulse when the magnet current ceases. This is achieved by having a short circuit 700 ohm winding which provides a release lag of around 150 ms. Generally the magnet will fail to step before the CD relay will fail.
Modern selectors overall have a great amount of tolerance to pulse distortion.
Junction calls : When calls are made involving more than one exchange, the circuits interconnecting the exchanges are called "junction" circuits (Connections between the customer and the exchange use "local"lines).
A transmission bridge is required in each exchange that the call passes through. The A and B relays in each exchange hold the call through that exchange via the B contact earth on the P wire holding any group selectors that will have been used to set up the call.
Local lines and junction circuits are simply two wire circuits, but each exchange connection requires the third P wire circuit inorder to test and hold the call through the exchange. Please recall from the "Transmission Bridge" paper that barretters can serve both caller and called customers when a junction is involved in the call.
On a "junction" call the originating exchange uses an outgoing auto - auto relay set to convert the three wire exchange connection to the two wire condition of the junction. Any intermediate exchanges that the call passes through will also require an auto - auto relay set. The terminating exchange uses a final selector to provide the necessary transmission bridge.
Any auto - auto relay set therefore has to provide facilities to convert the three wire exchange condition to the two wire junction condition and this requires that the relay set has a transmission bridge. Any pulsing must therefore be repeated across the transmission bridge to the junction and following exchange.
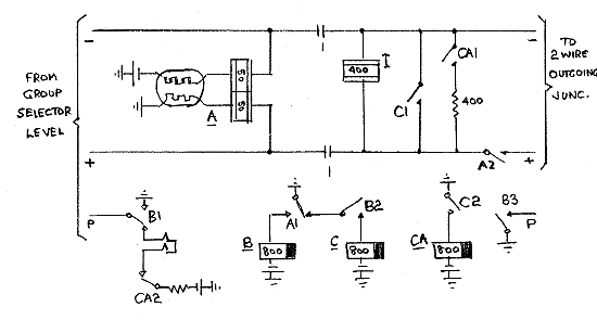
The Auto - Auto Relay Set
This diagram shows the essential features of an auto - auto relay set that permit P wire holding and pulse repetition to a junction.
The P wire normally has a low resistance battery condition on it to denote that the junction is free. The relay set is seized by the customer's loop being extended from a group selector level on the - and + wires and relay A operates. This in turn operates relay B which earths the incoming P wire to hold the connection from the group selector.
Junction Limits : A2 also loops the junction with the 400 ohm high impedance I relay. This "initial pickup" is the condition that usually limits the resistance permitted in the junction pair. This limit can go up to 2000 ohms with the total loop resistance being presented to the distant A relay being 2400 ohms. Above this value the A relay will not operate reliably. During pulsing the I relay is short circuited and the distant A relay will receive somewhat higher line current.
A junction of 2000 ohms however implies a transmission loss of perhaps 20 db and this will not be acceptable in nearly all cases. To overcome this the junction will need amplifiers to reduce the loss to between 3 and 6 db depending upon where in the network the junction is. In turn, amplifiers generally meant a four wire junction being used which in turn reduced the line resistance by half. To offset this gain though, many transformers would be introduced into the signalling path along with capacitors across the signalling path. These factors generally reduced the junction signalling limits to around 1200 ohms.
Pulse Repetition : When the caller dials, the A relay releases during the pulse break periods. Contact A2 repeats the break to the junction, contact A1 operates relay C and C2 operates relay CA. These two relays hold during the pulse train. Contact C1 short circuits relay I and, on the next operation of relay A, presents a zero ohm loop to the junction. Pulsing continues with either a break or a zero ohm loop being extended to the junction.
At the end of the pulse train relays C and then CA release slowly. C1 removes the short circuit from the junction and leaves the I relay and a 400 ohm resistor in parallel across the line. Flux builds in the I relay whilst the distant A relay is held by the current flowing via the 400 ohm resistor. When CA1 releases the line current will all flow via the I relay, but as the relay has been partially fluxed, the line current will not drop below the "hold" value for the distant A relay. This arrangement is known as "Two Stage Dropback" and is an essential feature in all loop disconnect relay sets.
If the 400 ohm resistance circuit had not been provided, then the drop back from the short circuit to an unfluxed I relay would have caused the line current to have dropped momentarily to zero. This would have caused a momentary release of the distant A relay and so would have produced an extra pulse. eg if six had been dialled, seven pulses would have been received.
The A relay in the auto - auto relay set could also be adversely affected if a "one stage drop back" had been employed. During pulsing the transmission bridge capacitors build a charge from the A relay battery and earth via the short circuit of C1. When C! releases the capacitors would discharge to the junction line potentials and this would produce a current in the A relay in opposition to the line current. The A relay may therefore itself produce an extra break which it would repeat to the junction.
Trunking : The diagram and write up assumes that the auto - auto relay set is provided on a one per outgoing junction basis. This is generally true.
However when large exchanges with many junction groups are involved, it is usually more economic to provide the relay sets back in the exchange between group selector ranks. The outgoing side of the relay set is then connected to a further group selector which in turn will select which junction is used. Contact B3 provides the forward holding earth to busy and hold the next group selector. The forward B3 earth is also generally taken to the bush of the test jack of the selected junction to mark it as busy to any testing engineer.
 |
Page provided by John Bathgate
This page was last updated on
28th January 2011 |
|