Introduction to Strowger
Selector Stepping
All calls made through a Strowger exchange require that pulses from the customer's dial step the magnets in the selector mechanisms. The main requirements are :
1) that the vertical magnet in group selectors be stepped under the control of the dial
2) that in a final selector the vertical magnet be stepped by the penultimate dial train and the rotary magnet be stepped by the final dial pulse train.
Group Selector Stepping
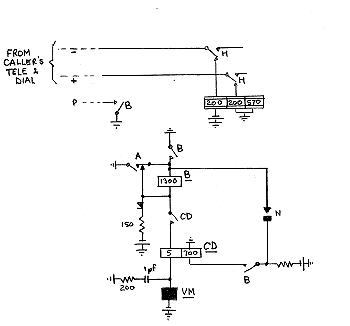
This circuit shows a typical group selector stepping circuit. Relay A operates when the selector is siezed and the dial pulse train causes the A relay to release and reoperate a number of times depending upon the digit dialled.
When relay A is siezed by the customer's loop being extended from the previous selector stage, A1 operates and in turn operates relay B to the 150 ohm battery supply.
Relay B in turn earths the P wire to hold the previous selector stages and pre-operates the CD relay.
When the dial pulse train arrives, relay A releases and reoperates a number of times.
On the first release of relay A, the A contact short circuits the B relay and extends the B earth via the CD contact to the vertical magnet. The vertical magnet operates and the selector takes a step up. This operates the N springs which immediately short circuit the 700 ohm CD relay winding. Note that both the B and CD relays now have short circuited windings. This makes both of the relays slow to release so that they will remain operated during the rest of the pulse train. At this point the CD relay has about an amp of current flowing through its 5 ohm winding to maintain the relay's flux.
When the A relay reoperates, the magnet current virtually ceases and relay CD holds due to the slugging effect of the short circuited 700 ohm winding. The magnet and the 150 ohm resistor still supply sufficient current to re-energise the B relay and allow it to rebuild its flux.
During pulsing, relay B is energised during the "make" period and held by a short circuit during the "break" period. Relay CD is energised by the magnet current during the "break" period and held by the short circuit across the 700 ohm winding during the "make" period.
When the dial pulse train ceases, relay A remains operated, and so does relay B as it is receiving current from the magnet and the 150 ohm resistor. Relay CD however releases (slowly) as its 700 ohm winding is still short circuited and the 5 ohm winding is no longer receiving magnet current.
The release of relay CD then instigates the driving of the rotary magnet so that the wipers enter the dialled bank level in the search for a free selector from the next rank. This aspect will be dealt with in a later paper.
The rectifier in the 150 ohm operate circuit for the B relay prevents the resistor from slugging the vertical magnet during stepping.
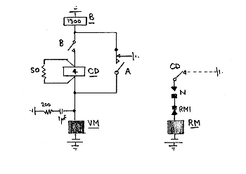
This is a variation for a group selector stepping circuit as used in PABX equipment.
In this circuit, the A relay operating causes only the operation of relay B from the magnet battery supply. Relay B does its usual job of holding an earth on the P (or H) wire.
When the pulse train is received, the initial release of relay A short circuits relay B as before and also extends an earth via the 4 ohm winding of the CD relay to energise both relay and vertical magnet. Relay CD therefore only operates when the dialling begins. Relay B holds during the "break" period due to the short circuit placed across it by the A contact. The N springs operate as the selector moves off normal and prepares a circuit for the drive of the rotary magnet, but this is delayed as the C contact is now operated.
At the end of the first pulse the A relay reoperates. This removes the operating current from the vertical magnet and reinstates the current to relay B. It also places a short circuit across the CD relay to make it slow to release so that it will hold during the "make" period.
During pulsing, the B relay is short circuited when the A relay is released and receives current when the A relay is operated. The CD relay is short circuited when the A relay is operated and receives magnet current when the A relay is released.
At the end of the pulse train, relay CD will slowly release when the magnet current ceases. This allows its contact in the rotary magnet circuit to start causing the switch to drive into the dialled bank level.
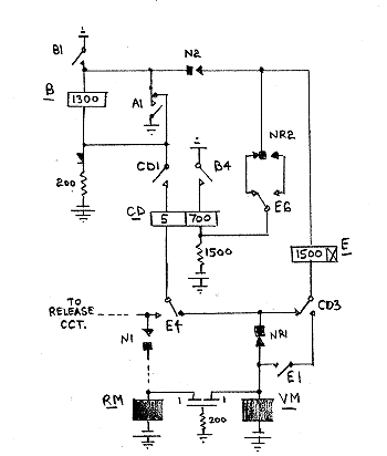
Final Selector Stepping
Final selectors have a more complex stepping circuit as two pulse trains are used to step first the vertical magnet and then the rotary magnet. An additional relay E is required to change over the stepping circuit between the two pulse trains from the vertical magnet to the rotary magnet. Rotary off-normal (NR) springs are also required. This circuit is a little simpler than most actual circuits as the E relay can also be involved in the metering circuit element.
When contact A1 operates on siezure, relay B operates to the 200 ohm battery supply. B4 then operates the CD relay.
During the first pulse train, the vertical magnet is operated from the B1 earth when the "break" of A1 occurs, CD1, the 5 ohm winding of relay CD, E4, and NR1. When the selector moves off-normal N2 short circuits the 700 ohm winding of the CD relay, making CD slow to release and dependent on the flow of magnet current though the 5 ohm winding. Relay B holds as it either short circuited by A1 released or is fluxed by the current from the magnet and the 200 ohm resistor during the time that A1 is operated.
During the initial pulse train therefore, relays B and CD hold and at the end of the pulse train, relay CD releases with the cessation of vertical magnet current. C3 in releasing connects relay E to the magnet battery and relay E operates. Contact E6 changes over and removes the short circuit from the 700 ohm winding of the CD relay which therefore reoperates. Relay E holds via E1 and CD3 both operated. Relays B, CD and E are now all operated and the rotary magnet is now selected for the reception of the final pulse train.
Relay E has an armature end slug which makes it both slow to operate and slow to release. The slow to operate feature ensures that the relay is well fluxed before it operates, so making the slow to release feature reliable as soon as the relay is operated. This means that the momentary "dis" that appears in its holding path when the CD3 contact change over will not cause the release of relay E. The slow to release feature is also used later in the metering sequence.
When the final pulse train is received, the rotary magnet responds and as the selector steps into the bank, the NR springs operate. With NR2 and E6 both operated, the 700 ohm CD winding is again short circuited making relay CD dependent on the rotary magnet current pulses. At the end of dialling therefore, relay CD releases again. C3 releases relay E, slowly. (During this release lag the called cusomer's line is checked to see if it is busy, free or, possibly, spare). When relay E finally releases, relay CD again re-operates with the short circuit again removed from the 700 ohm winding.
Should the caller dial any further digits, they will be ineffective as contact NR1 will have disconnected the vertical magnet and E4 will have disconnected the rotary magnet.
When all dialling has ceased, relays B and CD remain operated, but relay E is released. (Relay E is now available to time the metering pulse to the caller when the called customer answers).
A simplified stepping circuit is used in PABX equipment, particularly as there is no metering requirement to satisfy. This uses the simple 4 ohm CD relay principle as described for the PABX group selector above.
 |
Page provided by John Bathgate
This page was last updated on
21st January 2011 |
|